泉州驾培机构运营端平台操作注意事项:
1、 驾培机构运营端网址:http://112.51.255.241:32766/login.html#/(可直接复制到360浏览器等浏览器上登录)
2、 每家驾校有且只有一个超级管理员帐号,一般为校长手机号码;
3、 超级管理员可以给自己的驾校增加操作员帐号,操作路径:“驾校管理”-“用户管理”-“新增用户”,见图例:(姓名建议用实名制,可以跟踪操作记录,帐号建议用数字,方便记忆,权限请根据实际需要选择性开放)


第一部分 操作文档
一、 综合服务平台
(一)学员管理
1、学员报名
(1) 学员报名:通过身份证识别或高拍仪读取学员身份证信息,自动上传学员身份证上照片(不可修改),另外,平台支持增加学员头像功能,分为直接上传和拍照两种方式。

(2) 电子合同:学员基本信息填写完成后,通过“合同管理”选择事先设定好的合同模版,点击“保存”,生成电子合同。操作界面可见下图:

(3) 学员备案:学员信息及电子合同保存后,在学员列表界面,可选中学员信息,进行“学员备案”。

2、学员结业

可通过学员姓名、报名时间、身份证号以及电话号码等关键信息模糊搜索,支持批量结业。
3、学员退学
可通过学员姓名、电话和身份证号码等关键信息模糊搜索,进行学员退学操作。

4、技能证管理
取得技能证学员可通过该界面完成技能证编号登记,登记并上传后方可进行下一科目培训。

5、学员异地转入
学员报名时,需在“是否异地”选择“异地转入”,同时,在“学员异地转入”界面,查找到该学员信息,进行“完善资料”并提交相应证明材料(培训技能证明及阶段记录签章),提交运管审核后,从下一科目进行培训。


6、学员车型变更
“学员车型变更”只针对C1和C2之间的车型变更申请,操作路径:“学员车型变更”界面,支持身份证号码或名字等模糊搜索,选中后,右侧“新增车型变更”,输入“选填学员”,上传相应信息后点击右下角“提交变更”,待运管审核后,车型变更成功。

1、培训进度
培训进度可查看所有学员的培训情况,包括查询、导出功能。


2、学时明细
可通过列表看到本校学员的学时明细,或通过学员姓名、教练姓名、身份证号码、车牌、起止时间及教学阶段等关键信息点对对查询某位学员的学时明细。

3、阶段记录审核
包括:考核员签名、驾校签章、上报审核以及审核结果查询。
可通过科目、姓名、身份证和起止时间进行查询或批量上报审核。

4、理论与模拟
主要针对理论集中课堂以及模拟集中课堂。显示总数以及在训数。
5、培训看板
查询当时教学车辆的带教状态、带教信息、签到时间,支持“强制签退”和“定位车辆”。

(三)车辆监控
1、动态监控
实时监控模块,会显示总车辆数、在线、培训中和离线车辆、对应地区的地图。支持车牌号搜索及抓拍功能。

A.离线:车辆未上线。
B.在线:在线车辆一种是上线但未进行培训的车辆;另一种是培训中车辆
C.培训中:正在培训的车辆。
2、历史照片
历史照片显示的是整个培训过程中所有的照片,照片类型主要包括:教练签到、学员签到、定时拍照、培训过程中拍照、学员签退和教练签退几种。历史照片提供时间与车牌号的筛选。

查看图片如下图所示。

3、历史轨迹
根据车牌号、日期搜索轨迹,轨迹提供播放功能。播放过程可暂停或停止。

4、报警设置
(四)驾校管理
1、驾校信息
在驾校备案初期,信息已录入,备案成功后不可修改。
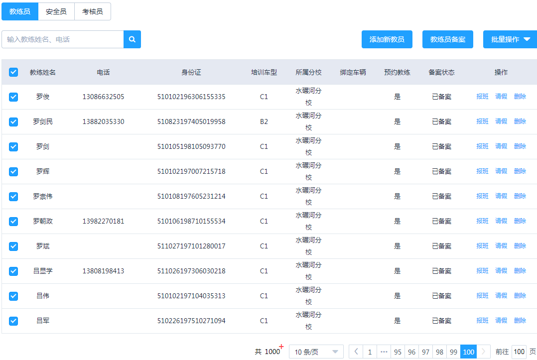
2、教练管理
教练管理分三个角色:教练员、安全员、考核员。三个角色的操作方式相同,具体内容可见教练员的操作方式:
(1) 教练员
目前驾培机构原系统内的教练员基本信息已导入,可通过教练员列表查看是否需要增减或修改。

l 若需要新增教练员,选择“添加新教员”,教练员支持高拍仪和身份证读卡器读取教练相关信息。上传教练头像分为直接上传和拍照两种方式。“*”号项目为必填项目,点击“保存”,回到教练员列表界面,选中教练员信息,点击右上角“教练员备案”,待运管审核,教练员备案成功。


l 教练备案,即向监管平台上传教练信息,提供单项及批量备案。

3、车辆管理
原系统内的基础信息已导入,可见车辆列表清单,车辆管理模块主要涉及基本信息、年检信息、保险信息、技术等级、二维信息及车辆证管理。
已导入车辆信息,可选中车辆后,选择“完善信息”,进行车辆信息的完善,以及上传相应附件,“*”号信息为必填项,附件内容包括:车辆尾部照片、车辆行驶证正页、副页、机动车登记证、综合性能检测正副驾检测单,若是新增教练车辆证时,还需要提供管理部门规模核定证明以及车辆正侧面45度照片。


车辆备案:信息完善后,点击中下方“提交监管”,回到车辆列表清单,选中车辆,选择“车辆备案”即向监管平台上报车辆信息,支持单项及批量备案。

车辆备案状态(车辆列表状态栏显示),包括以下几种:
A.未备案:新增车辆,即未备案状态,可以进行备案、修改和删除操作。
B.备案中:已向监管平台备案,等待监管平台处理,这时车辆无法再次进行备案,修改和删除操作。
C.备案成功:向监管平台备案成功,车辆可进行备案、修改(除车牌外,其余信息均可进行修改)和删除操作。
D.备案失败:向监管平台备案失败,车辆可进行备案、修改(所有信息均可修改)和删除操作。
(1) 年检信息
新增年检信息:需要填写车牌号、上次年检日期、下次年检日期、提醒日期、提醒方式(网站推送、短信提醒)。其中短信提醒需要输入电话号码。网站推送和短信都是提醒日期当天10:00收到。

修改年检信息

年检信息下次提醒
修改下次提醒时间后,网站推送和短信会以最新提醒时间为进行发送。

删除年检信息:年检信息列表提供删除操作。
(2) 保险信息
保险信息列表:通过输入车牌号模糊查询。列表字段包括车牌号、提醒日期、提醒方式、创建时间、操作。

新增保险信息:新增保险信息需要输入车牌号、提醒日期、提醒方式(网站推送、短信提醒)、电话号码。商业险和交强险必须选填一种。网站推送和短信都是提醒日期当天10:00收到。

修改保险信息,如下图所示:

保险信息下次提醒:修改提醒时间后,网站推送和短信会以最新提醒时间进行发送。

删除保险信息:列表包含删除操作。
(3)技术等级信息
技术等级信息需要修改的路径是“技术等级信息”-右侧“修改”-“*”号项目为必填信息-右下角“保存”。

新增技术等级信息的路径:右上角“新增技术等级”-“*”号信息为必填项-右下角“保存”。
(4)车辆证管理
车辆证管理主要针对车辆证的补发和注销,补发路径:输入车辆号码搜索-右侧“补发”-“*”号为必填项-右下角“提交补发”,待运管审核后重新发放教学车辆证。


4、禁训名单及场地管理
通过禁训名单可查询到近期监管暂停某车或某教练员带教功能的原因、时限等相信息。
场地管理的新增、修改由运营商后台操作上报,待运管审核后,做为科二场内训练的围栏信息。场地信息通过审核后,可查看位置、大小等相关信息。

5、分校管理
根据驾校经营管理需求,可选择性增加“分校管理”,总校可以看到分校的招生情况及培训情况,分校不可看到总校的信息。增加分校的路径:“分校管理”-“添加分校”-“*”号为必填信息-“提交”。

6、合同管理
合同管理主要用于“新增合同模板”,可根据经营需要,制作不同情况的合同模版,在“学员报名”界面,根据学员不同情况,选择不同的合同。
(五)报表中心
提供:招生统计、培训周期和培训率统计。通过报表以及统计功能,呈现驾校近期招生数、培训情况以及培训率等数值。

(六)消息中心
消息中心包括消息、报警、公告、投诉。
(1) 消息分年检消息、保险消息和普通消息三种,年检和保险消息会在设置的提醒日期当天10:00收到。

(2) 报警 报警分为预约报警、学时审核报警和普通报警三种。

A.预约报警:学员预约后,未在规定时间内进行培训,驾培机构会收到预约报警消息。
B.学时审核报警:培训过程中,照片审核不通过,驾培机构会收到学时审核报警消息。
C.普通报警:教练登录车辆不符,车辆长时间启动但未培训,车辆培训时段不符合要求等,驾培机构端会收到普通报警。
(3) 公告 指驾培机构可以向学员和教练群发送公告,学员端和教练端分别可以收到推送。

发布公告如下图所示。

(4) 投诉 查看的是学员从app端提交的投诉信息,点击操作下的处理,可对投诉进行处理。

(七)增值服务
包括充值记录及消费记录。
(1) 充值记录提供充值时间的筛选功能。充值列表如下图所示,包括流水号、充值类型、充值金额、充值时间、购买数量字段。

(2) 消费记录如包括报名及退学,并提供对应日期的筛选。记录包含序号、学员编号、学员姓名、身份证号、电话号码、日期、类型、金额字段。

(八)日志
操作日志主要是记录操作员的操作记录,操作类型包括创建、删除、编辑和备案,可查看操作详情。提供的查询条件包括模块、操作类型、操作人、关键字、操作日期。

日志详情如下图所示。



